kristy yummy coochie 🇯🇲
banner
adrierising.bsky.social
kristy yummy coochie 🇯🇲
@adrierising.bsky.social
chaotic good. co-host of #pagesandprejudice pod. editor of i hate my job. sex/work writer. portrait photographer. chronically just like other girls. hot take generator.

🌐: adrierose.link/adrierising
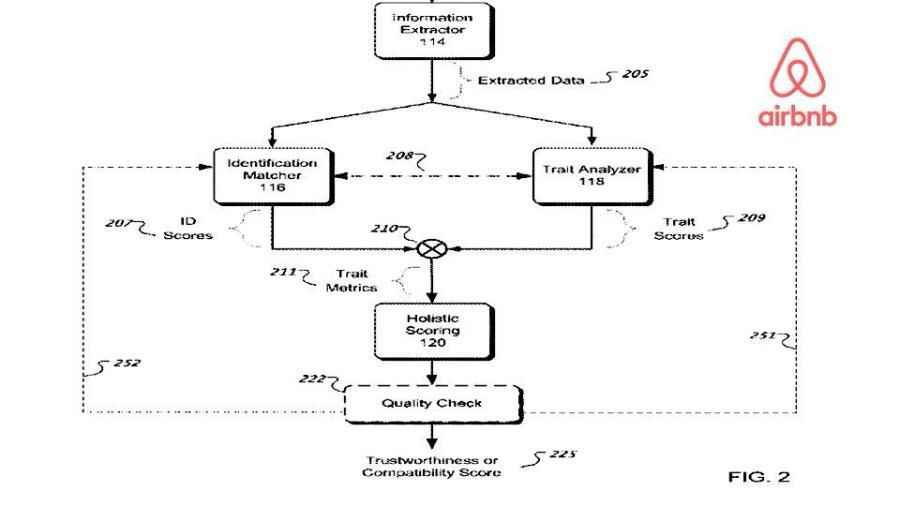
airbnb privately owns the technology to scrape ads and clips from across the internet and compare them to the id that they make you upload on the app. it is not a matter of if, but when, they catch up with you.
Airbnb Admits Ownership of AI Technology That Targets Sex Workers, Others
Worldwide lodging app Airbnb now owns an AI technology that allows them to discriminate against people in certain categories, specifically including sex workers, based on unrelated social media posts ...
www.xbiz.com
November 30, 2025 at 3:59 PM
i don't have any grandparents anymore, but i do wonder if my dad's parents and grandparents imagined someone like eric adams or josh shapiro when they quietly converted and told everyone they were sicilian
November 29, 2025 at 10:37 PM
before BDB jumped the shark, it was very clear that jr ward was deep into the lore of the familial structures of organized crime and religious cults. she put in the work to build her world. same for lara adrian and the midnight breed series. nobody wants to WORK anymore.
November 29, 2025 at 5:53 PM
and at the risk of doing discourse, i think this sets apart people who want to write romance and romance writers. i'm so sorry, but you do have to do actual research to write well and master your craft. because your audience already has -- that's why they're looking for genre fic.
November 29, 2025 at 5:51 PM
even andrew carnegie and henry clay frick built things and used their wealth to better the world around them in material ways
November 29, 2025 at 5:18 PM
Reposted by kristy yummy coochie 🇯🇲
people very often learn about an issue, and become strongly committed to an issue, when it affects them personally. that's part of how solidarity works; an issue affects you, and you want to help others or join with others.
November 29, 2025 at 12:31 AM
i don't even feel moved fr until i see 50%. wow me.
November 29, 2025 at 12:54 AM
i've been on reddit since wednesday trying to fix the issue but i do draw the line at opening up the walls
November 29, 2025 at 12:41 AM
i wasn't even rude why tf did i get blocked???
November 28, 2025 at 11:08 PM
oh god the squirrels are fighting on my porch
November 28, 2025 at 8:50 PM
how do i tell him i can't afford his habit full time
November 28, 2025 at 8:48 PM